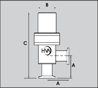
4000 Series Angle Valve – Dimension 2

Air-to-Open / Spring-to-Close valve dimensions (Viton bonnet)
| DN | mm, inch | 16, 0.625 | 25, 1.00 | 40, 1.50 | 50, 2.00 | 63, 2.50 | 75, 3.00 | 100, 4.00 | 150, 6.00 |
|---|---|---|---|---|---|---|---|---|---|
| A | mm, inch | 55.25, 2.18 | 52.59, 2.07 | 66.50, 2.62 | 78.11, 3.08 | 85.77, 3.38 | 92.12, 3.63 | 118.31, 4.66 | 165.05, 6.50 |
| B | mm, inch | 70.00, 2.76 | 70.00, 2.76 | 86.00, 3.39 | 101.60, 4.00 | 117.00, 4.61 | 151.60, 5.97 | 170.00, 6.69 | 253.20, 9.97 |
| C | mm, inch | 162.03, 6.38 | 156.02, 6.14 | 177.87, 7.00 | 252.35, 9.94 | 245.88, 9.68 | 286.49, 11.28 | 348.09, 13.70 | 469.25, 18.47 |
Manual, CF1.33 – 4.5 (.625” – 2.5”)
Manual valve dimensions (Viton bonnet)
| DN | mm, inch | 16, 0.625 | 25, 1.00 | 40, 1.50 | 50, 2.00 | 63, 2.50 |
|---|---|---|---|---|---|---|
| A | mm, inch | 55.25, 2.18 | 52.59, 2.07 | 66.50, 2.62 | 78.11, 3.08 | 85.77, 3.38 |
| B | mm, inch | 70.00, 2.76 | 70.00, 2.76 | 86.00, 3.39 | 101.60, 4.00 | 117.00, 4.61 |
| C | mm, inch | 137.70, 5.42 | 132.40, 5.21 | 170.20, 6.70 | 212.70, 8.37 | 275.90, 10.86 |

